
Hohner Up To Date Chromatically Tuned

Once upon a time in the west (actually south east and down under), there was a lonely 1898 Hohner Up To Date Chromatically Tuned Harmonica residing quietly in a shack in the Dandenongs (now in a shanty on the Bass Coast). Discovered in May of 2019 even further south in Franklin, Van Dieman’s Land, research was undertaken and an article penned.
Then there would be two Up To Date Chromatically Tuned Harmonicas, soon three, four, and then Doug Dawson, Canadian harmonica collector, decided he’d get in on the action – of course he would. Not only did he locate a specimen, it was a hybrid model in wonderful condition. It arrived resplendent with mouse ear cover plates and in the Key of ‘A’! Even the box appears divergent.

F A Bohm Triller
In the same year the Up To Date Chromatically Tuned came into existence, F A Bohm had a patent for their Triller (for a trilling effect – it is not a Chromatic), which is very similar in design. This was sold by Paling’s of George Street Sydney in 1899.

Museum Exhibit
The German Harmonica and Accordion Museum in Trossingen was generously donated a model (Mark Hand) not long after my discovery. They were out there, baby.

The photo they used for their exhibit of the month (February 2020) is elongated and I pondered if this had a few more apertures or was merely the angle of the dangle. I’ve been reliably informed by Mark Weber, it is the same geometry and a ten hole like the others. This harmonica is in the key of ‘A’ too.
In the museum’s write up they suggest the slide is on the left, “The legendary Chromonica did not follow until 1910, then with the slide button on the right side, not on the left as in this model.” On my specimen it certainly ain’t – the top cover is the trademark cover that has the low notes to the left and thus the slide on the right. The Up To Date stamped cover plate is the bottom one. Pat Missin has alerted me that up to 1920-ish old Hohner’s had the trademark cover plate on top.
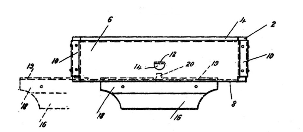
Vertical Openings

As noted by Mark Weber in his review of the Up To Date Chromatically Tuned, the sliding mechanism is quite unique with the reed plates extended beyond the comb to become part of the tracking system for the slide (maybe not so airtight).

The other notable feature is the vertical openings of the reeds. Here Pat ‘Guru’ Missin elucidates. “Each hole opens to a pair of reeds (one blow one draw) that are paired vertically, rather than horizontally as in most other slide designs. This allows for a shorter/faster button push, as well as potentially changing the way the reeds interact.” He also makes mention of a new chromatic harmonica using a similar concept, JDR’s Trochilus.

Patentet?

Interestingly (but not very funny), all have patented spelt incorrectly.
1910 The Chromatic Harmonica

The 1910, The Chromatic Harmonica had a button slide and horizontal openings. Perhaps the box is referring to these changes as the improvements on the Up To Date Chromatically Tuned.
Here tis, advertised by Nicholson & Co. of Sydney in 1913 as ‘HOHNER’S celebrated Chromatic’.

A patent for Hohner’s chromatic harmonica didn’t appear until 1926 with the invention credited to David Newman of California.

Prototype

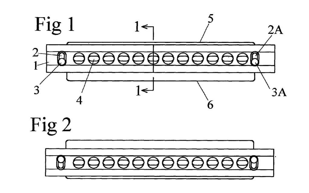
Joel Andersson provides a photo of a prototype model from a hidden drawer in the museum. It has the Up To Date Chromatically Tuned cover plate (on top) and it has the vertical slots.

This design has a button attached to the mouthpiece of eleven apertures with the mouthpiece being the moving component on an external spring. How could this possibly work? I’m reliably informed by Mark W once again, this is a ten hole model.

There were designs that had a mouthpiece that slid over the top of holes, but those I have witnessed were for non chromatics and were very different than this design. Check out What! What! What!.
Non Sliders

Koch had this non slider with an amplifying bell for a short period of time in 1926. The half tones sound when you turn the lower part of the bell slightly.


Recently I came across this 2003 patent by W. Vernon Smith of California. A hands free chromatic with a vertical mouthpiece moved up or down by the mouth that creates a greater airtight harmonica. Head to Pat Missin’s post for more information – Vern.

And the there’s Seydel’s recent release The NONSLIDER Chromatic DE LUXE STEEL that has a curved mouthpiece – look’s difficult to me.

Please check home page for copyright details.
l have an Up to Date Chromatically Tuned with left side slide and box says Hohner employs 800 men Upwards of 2,400,000 Superior quality Harmonicas per annum. Also a similar style one same type of slide on right obviously later model from C.A Seydel Soehne BandMaster Deluxe Chromatic. I think l have some other brands too. In a box somewhere. Cheers PHILIP
LikeLiked by 1 person
Hohner Dating according to my trusty ai Gemini app
• 1880: Hohner produced about 400,000 harmonicas with roughly 200 staff.
• 1887: Production jumped to 850,000 harmonicas with 400–500 staff.
• Early 1890s (My Box): This is the period where Hohner reached the 2,500,000 per annum milestone with a workforce of roughly 800 people.
• 1900: By the turn of the century, the labels had already changed again to reflect even higher growth, typically claiming 3,000,000 to 4,000,000 harmonicas per year and over 1,000 staff.
• 1913: Production hit a massive 10 million harmonicas with 3,000 employees
LikeLiked by 1 person
Hi Shep, great article. Thanks for putting it all together!
LikeLiked by 1 person
There is always that welcome feeling of comfort when sitting down and reading your deep dives into Harp land Shep. Interesting research and you always look at and analyse the confusing, alongside the quirky (patentet), inclusions that you find. It shows you really do study each and every aspect of the historical information you collect. How do you retain this plethora to all your knowledge. I forget the names of simple things very often.
It would be nice if the patentet word stamped in was a limited error. Not a Universal one. Like vinyl ‘word or stamp’ mistakes, the harps would possibly be very valuable to own I should imagine. Of course, it was my Chromatic buy from a charity shop years ago that led me to your blog site. So a special fondness exists for me regarding this type of harp.
Cheers Shep. Hope you are keeping fine.
LikeLiked by 1 person
I have to be honest Gray I have many senior moments. Sometimes I forget that I’ve already researched and located particular information on a harmonica. And there it is recorded in my post from a couple of years back. Waking up in the morning so things are mighty fine. Hope all is well in Summers land. The Ol’ Dawg Hisself
LikeLiked by 1 person
I often wonder if it is an ongoing loss of memory as older years come in to play or the lack to actually mind visualise Shep. I am hoping the latter, because that just means a weird loss of trying to locate information from having no means to bring pictorial stuff back. My brother can return to places years later, close his eyes and bring back pictures of familiar visits. Then can get to where he wants to go to usually.
But I can bring back the research or information subject areas I have investigated in the past. Just not the actual detailed info from the finds. If you don’t use it, you lose it sort of scenario.
Having a dry year again this year Shep, so mornings are quite different on waking now. 😊 Mind you, may have the odd glass or two on special occasions. Also. Getting a new deep super dooper ‘Premier Inn’ make mattress soon. Springs that are top notch. Delivery next week. Our current cheap one from five or so years ago is, on looking under the zipped heavy cover, a huge slab of foam. No wonder our backs have been really suffering for a fair few years. So fingers crossed we can soon wake up with a spring in our step. So, all should be well in Summersville Shep. Cheers and all the best.
LikeLiked by 1 person